數顯維氏硬度計YHVS30

概述
一體化鑄鋁機身,不變形,不位移,外觀漆水采用汽車烤漆工藝,砝碼加載結構,性能穩定,5.1吋大屏LCD顯示,可切換硬度標尺HV或HK;菜單式結構,操作簡便;高清光學系統和物鏡,光源亮度可以20級調節,硬度換算功能;對角線長度D1和D2編碼器輸入,減少人為讀數誤差,定位準確;測量結果和數據處理,可通過打印機輸出。
主要功能
5.1吋大屏LCD顯示,可切換硬度標尺HV或HK;
● 菜單式結構,操作簡便;
● 高清光學系統和物鏡,光源亮度可以20級調節;
● 硬度換算功能;
● 對角線長度D1和D2編碼器輸入,減少人為讀誤差;
● 定位準確;
● 測試結果和數據處理,可通過打印機輸出。
應用范圍
材料研究和科學試驗方面小負荷維氏硬度試驗,測試小型精密零件的硬度,熱處理、碳化、淬火硬化層,表面覆層,鋼,有色金屬、薄片材料和細線材的硬度,刀刃附近的硬度,牙科材料的硬度等,還能測試表面硬化層硬度和硬化層深度。也可用于測試諸如玻璃、珠寶和陶瓷等用洛氏測試方法及其它相對大試驗力測試無法測試的非金屬材料。它能遵循金屬的結構,測試感應硬化或滲碳化等材料的內部硬度。
維氏試驗原理
維氏硬度試驗是用136°正菱形金剛石壓頭,以規定試驗力(F)壓入被測試物體的表面,經規定的保持試驗力時間后,卸除試驗力,用測微目鏡測量試件表面的壓痕對角線(d),計算壓痕的錐形表面積所承受的平均壓力(N/mm2),即維氏硬度值。(詳見圖1.1)。

技術數據
型號 | YHVS30(手動轉塔) |
試驗力 | 1Kgf、3Kgf、5Kgf、10Kgf、20Kgf、30Kgf |
轉換標尺 | 洛氏、表面洛氏、布氏 |
測量范圍 | 8-2900HV |
最小測量單位 | 0. 0625μm (20倍物鏡);0.125μm (10倍物鏡) |
試驗力保荷時間 | 5~60s可調(每1秒為一單位) |
測量精度 | 滿足或高于GB/T4340.2 |
總放大倍數 | 觀察與測量100X 測量200X |
數據輸出 | 內置打印機輸出 |
加荷控制 | 自動(加荷、保荷、卸荷) |
儀器重量 | 約45kg |
試件最大尺寸 | 最大高度165mm ,壓頭中心到內壁130mm |
電源 | AC220V±5%,50~60Hz |
執行標準 | GB/T4340.2國家標準 JJG151檢定規程 |
可選附件 | XY工作臺(定制)、CCD測量系統,努氏壓頭、細絲夾持臺 |
附表一
硬度 符號 | 最大誤差 表示為標準塊規定硬度值的百分比 | |||||||||||||||
硬度,HV | ||||||||||||||||
50 | 100 | 150 | 200 | 250 | 300 | 350 | 400 | 450 | 500 | 600 | 700 | 800 | 900 | 1000 | 1500 | |
HV0.1 | 5 | 6 | 7 | 8 | 8 | 9 | 10 | 10 | 11 | |||||||
HV0.2 | 4 | 6 | 8 | 9 | 10 | 11 | 11 | 12 | 12 | |||||||
HV0.3 | 4 | 5 | 6 | 7 | 8 | 9 | 10 | 10 | 11 | 11 | ||||||
HV0.5 | 3 | 5 | 5 | 6 | 6 | 7 | 7 | 8 | 8 | 9 | 11 | |||||
HV1 | 3 | 4 | 4 | 4 | 5 | 5 | 5 | 6 | 6 | 6 | 8 | |||||
HV2 | 3 | 3 | 3 | 4 | 4 | 4 | 4 | 4 | 5 | 5 | 6 | |||||
HV3 | 3 | 3 | 3 | 3 | 3 | 4 | 4 | 4 | 4 | 4 | 5 | |||||
HV5 | 3 | 3 | 3 | 3 | 3 | 3 | 3 | 3 | 3 | 4 | 4 | |||||
HV10 | 3 | 3 | 3 | 3 | 3 | 3 | 3 | 3 | 3 | 3 | 3 | |||||
HV20 | 3 | 3 | 3 | 3 | 3 | 3 | 3 | 3 | 3 | 3 | 3 | |||||
HV30 | 3 | 3 | 2 | 2 | 2 | 2 | 2 | 2 | 2 | 2 | 2 | |||||
HV50 | 3 | 3 | 2 | 2 | 2 | 2 | 2 | 2 | 2 | 2 | 2 | |||||
HV100 | 3 | 2 | 2 | 2 | 2 | 2 | 2 | 2 | 2 | 2 | ||||||
注: 1.當壓痕對角線小于0.020mm時,表中不給出誤差值。 2.對于中間值,其最大允許誤差可由內插法求得。 3.表中值是以0.001mm或壓痕對角線平均值的2%為最大誤差給出的,以較大者為準。 | ||||||||||||||||
表中內容摘于GB/T4340.2。 | ||||||||||||||||
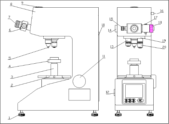
硬度計主機外形

硬度計主機外形
1.調節螺釘 | 2.旋輪 | 3.螺桿 | 4.試臺 | 5.壓頭 |
6.目鏡 | 7.眼罩 | 8.上蓋 | 9.攝像蓋板 | 10.后蓋板 |
11.手輪 | 12.電源開關 | 13.10х物鏡 | 14.燈源 | 15.左鼓輪 |
16.圓插座 | 17.測量按鈕 | 18.右鼓輪 | 19.轉塔 | 20. 20х物鏡 |
面板鍵功能介紹


硬度計的使用

硬度計測量硬度的工作過程
壓痕的具體測量方法


硬度計符合標準
GB/T4340.1-1999 GB/T 4340.1-1999 金屬維氏硬度試驗 第1部分:試驗方法
GB/T4340.2-1999 GB/T 4340.2-1999 金屬維氏硬度試驗 第2部分:硬度計的檢驗
ISO 6507-2:2018《金屬材料 維氏硬度試驗 第2部分:硬度計的檢驗與校準》國際標準
ASTM E384-17 材料的努氏和維氏硬度標準試驗方法
JJG151 - 金屬維氏硬度計檢定規程
標準配置
名稱 | 數量 | 名稱 | 數量 |
儀器主機 | 1臺 | 物鏡20x、10x, | 各1只 |
維氏壓頭 | 1只 | 砝碼(30KG) | 3只 |
維氏硬度塊 | 2塊 | 大、中、“V”試臺 | 各1只 |
電源線 | 1根 | 10×測微目鏡 | 1只 |
產品使用說明書 | 1份 | 產品合格證 | 1份 |
測量系統FHV-CCD-A

產品介紹
該測量系統可和維氏硬度計相配,升級單機硬度計到計算機測量系統;該測量系統和硬度計融合一體;計算機控制硬度計;適應于顯微及維氏硬度計;圖像清晰,壓痕測量自動/手動測量;標定采用測微尺或硬度塊標定,可自動標定;硬度按國標和ASTM轉換成其他硬度;硬度值統計及硬度超出報警 ;試驗報告可用戶定制,試驗數據長期保存,便于歷史查詢
基本功能

技術參數
型號 | A |
測量方式 | 手動擬合 |
攝像頭和標定管理 | 1.USB2.0 CMOS 專用于顯微鏡測量攝像頭(3百萬像素攝像頭可選); 2.可用硬度標定塊或標定尺兩種方法標定攝像頭; 3.為了提高測量準確度,可對不同試驗力分別標定,系統自動載入。 |
硬度值轉換、修正、有效驗證 | 1.硬度轉換:測得的維氏硬度值可轉換到美標、國標、或德標的其它硬度值如HB、HR等; 2.硬度修正:可對球面或圓柱面樣品測量值進行修正; 3.有效驗證:根據測得的硬度值,計算出最小的樣品厚度、測試點距樣品邊緣距離、和測試點之間的距離。 |
數據統計 | 自動計算硬度的平均值、方差、Cp、Cpk等統計值。 |
硬化曲線 | 自動繪制硬化曲線: 1.在一個測量路徑下可自動生成多條硬化曲線或按平均值生成單條曲線; 2.可繪制HV對XY 的硬化曲線圖。 |
數據儲存 | 原始測量數據和圖像等可保存于文檔供以后調出打出報告;一個文件保存一個測量的所有數據。 |
測試報告 | 自動生成WORD或EXCEL文檔報表;報表格式可定制;標準格式包括每單個測量點硬度值、統計值、壓痕圖像、和硬化曲線等,用戶還可以輸入自定義的額外信息。用于報表;測量數據也可發送到指定的網絡端口。 |
努氏硬度 | 可設置為努氏硬度測量 |
斷裂韌性 | 可設置為測量壓痕斷裂韌性 |
其他功能 | 含iVision-PM顯微圖像處理與測量系統的所有功能,包括圖像/視頻拍攝、圖像處理、幾何尺寸測量、文檔標注、相冊管理、和定倍打印等;文檔標注可在圖像上輸入文字、清單、和圖片等 |
手動修改 | 測量后可便攜地用鼠標手動拖拉修改壓痕標記,測量值和統計結果等自動更新 |



客服1 